欢迎光临工业插头插座厂家官方网站!

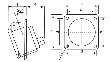
暗装斜座

  • CEE-415/425

CEE-415/425


  • 电       流   Current(A): 16A/32A

    电       压   Voltage(V):  220-380V~/240-415~

    极       数   No. of poles: 3P+N+E

    防护等级  Protection degree: IP44


413.png


16Amp

32Amp

Poles

3

4

5

3

4

5

a

62

76

76

80

80

80

b

68

86

86

97

97

97

c

47

60

60

60

60

60

d

48

61

61

71

71

71

e

36

47

47

51

51

51

f

37

37

37

50

50

52

g

50

56

65

65

65

70

h

55

62

72

75

75

80

i

6

6

6

6

6

6

Wire flexible [mm²]

1-2.5

2.5-6



友情链接: 浙ICP备20241089162222号 CEE工业插座箱 工业插头插座厂家