欢迎光临工业插头插座厂家官方网站!

暗装器具插头

  • CEE-6352/6452

CEE-6352/6452

  • 015.jpg

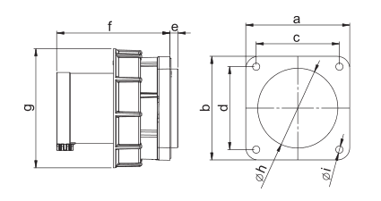
    电       流   Current(A): 63A/125A

    电       压   Voltage(V):   220-380V~/240-415V~

    极       数   No. of poles: 3P+N+E

    防护等级  Protection degree: IP67


6332.png


63Amp

125Amp

Poles

3

4

5

3

4

5

a×b

100

100

100

120

120

120

c×d

80

80

80

100

100

100

e

8

8

8

13

13

13

f

109

109

109

118

118

118

g

115

115

115

128

128

128

h

77

77

77

95

95

95

i

7

7

7

7

7

7

Wire flexible [mm²]

6-16

16-50


友情链接: 浙ICP备20241089162222号 CEE工业插座箱 工业插头插座厂家