欢迎光临工业插头插座厂家官方网站!

工业连接器

  • CEE-215/225

CEE-215/225

  • 015.jpg

    电       流   Current(A):16A/32A

    电       压   Voltage(V):  220-380V~/240-415V

    极       数   No. of poles: 3P+N+E

    防护等级  Protection degree: IP44


213.png


16Amp

32Amp

Poles

3

4

5

3

4

5

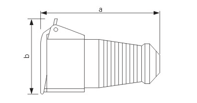
a

130

131

139

149

149

154

b

66

76

90

90

90

100

Wire flexible [mm²]

1-2.5

2.5-6


友情链接: 浙ICP备20241089162222号 CEE工业插座箱 工业插头插座厂家