欢迎光临工业插头插座厂家官方网站!

工业插头

  • CEE-014n/024n

CEE-014n/024n

  • 014.jpg

    电       流  : 16A/32A

    电       压   :   380-415V~

    极       数   : 3P+E

    防护等级   : IP44


013N.png 


16Amp

32Amp

Poles

3

4

5

3

4

5

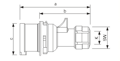
a

118

124

131

146

146

152

b

82

88

95

100

100

106

c

47

53

61

63

63

70

k

6-15

6-15

8-16

10-20

10-20

12-22

sw

38

38

42

50

50

50

Wire flexible [mm²]

1-2.5

2.5-6


友情链接: 浙ICP备20241089162222号 CEE工业插座箱 工业插头插座厂家